產(chan) 品類別:振動篩分機
產(chan) 品簡介:本品為(wei) 直徑1200mm型四層五出口碳鋼材質旋振篩,網架結構為(wei) 子母網分離式,整機噴漆。
免費獲取報價(jia)
全國統一銷售熱線
本品為(wei) 直徑1200mm型四層五出口碳鋼材質旋振篩,網架結構為(wei) 子母網分離式,整機噴漆。
1、關於“振動篩分機”:這個名稱是所有振動篩分設備類產品的總稱,確切點講這種圓形的振動篩根據相關標準叫“旋振篩”,由於其振動運轉原理很多企業也稱之為“三次元振動篩分過濾機”“三次元振動篩分機”。
2、1200型振動篩分機的工作原理:由直立式振動電機作為(wei) 激振源,電機上、下兩(liang) 端安裝有偏心重錘,將電機的旋轉運動轉變為(wei) 水平、垂直、傾(qing) 斜的三次元運動,再把這個(ge) 運動傳(chuan) 遞給篩麵。調節上、下兩(liang) 端的相位角,可以改變物料在篩麵上的運動軌跡。

3、關(guan) 於(yu) “大漢牌1200型振動篩分機”:"大漢"DH係列振動篩產(chan) 品,經客戶多年使用,獲得大量的一線反饋建議,在自有成熟的篩機製造技術基礎上,大漢機械工程師以滿足客戶需求為(wei) 標準,多次技術改進,篩分效果更加優(you) 越,采用"通用"新型動力激振器,三維動力更加突出,適用範圍更加廣泛,大漢機械公司可根據客戶需求設計特殊型號,無論物料是幹是濕,是精細是粗糙,是比重大是比重輕,0-400目都可以篩選,不管是液態的,還是漿狀的0-600目都可以過濾."大漢"旋振篩係列產(chan) 品同時配備專(zhuan) 門的篩網清理裝置,把堵網率降到低,過網率和處理精度得以有效提高."大漢"具備特殊型號製造的能力讓顧客對"大漢"有更多的選擇.

"大漢"1200型振動篩分機的特點:
☆ 效率高、設計精巧耐用,粉類、粘液均可篩分。
☆ 換網容易、操作簡單、清洗方便。
☆ 網孔不堵塞、粉末不飛揚、可篩至400目或0.028mm。
☆ 雜質、粗料自動排出,可以連續作業(ye) 。

1200型振動篩分機使用的行業(ye) :
化工行業(ye) :樹脂、塗料、工業(ye) 藥品、化妝品、油漆、中藥粉等。
食品行業(ye) :糖粉、澱粉、食鹽、米粉、奶粉、豆漿、蛋粉、醬油、果汁等。
金屬、冶金礦業(ye) :鋁粉、鉛粉、銅粉、礦石、合金粉、焊條粉末、二氧化錳、電解銅粉、電磁性材料、研磨粉、耐火材料、高嶺土、石灰、氧化鋁、重質碳酸鈣、石英砂等。
公害處理:廢油、廢水、染整廢水、助劑、活性碳等

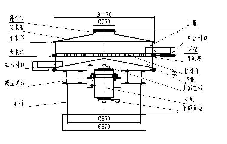
“大漢”1200型振動篩分機代號示意圖:
“大漢”1200型振動篩分機一般結構圖與(yu) 尺寸表:

型 號 |
DH-600 |
DH-800 |
DH-1000 |
DH-1200 |
DH-1500 |
DH-1800 |
DH-2000 |
直徑mm |
Φ600 |
Φ800 |
Φ1000 |
Φ1200 |
Φ1500 |
Φ1800 |
Φ2000 |
篩網麵積m |
0.24 |
0.45 |
0.67 |
1.0 |
1.6 |
2.43 |
3.01 |
篩網規格(目) |
2-500 |
||||||
進料粒度mm |
<Φ10 |
<Φ15 |
<Φ20 |
<Φ30 |
|||
振次rpm |
1500 |
1500 |
1500 |
1500 |
1500 |
1500 |
1500 |
有效篩麵直mm |
Φ560 |
Φ760 |
Φ930 |
Φ1130 |
Φ1430 |
Φ1760 |
Φ1960 |
層數 |
1-5 |
||||||
功率Kw |
0.25 |
0.55 |
0.75 |
1.1 |
1.5 |
2.2 |
3 |
“大漢”1200型振動篩分機的安裝與(yu) 調試:
(一)設備應有穩定的基礎。當設備安裝於(yu) 一般地麵或水泥基礎上時,可以不設置地腳螺栓。當設備安裝於(yu) 鋼結構架台之上時,應用螺栓緊固於(yu) 結構體(ti) 上,而且鋼結構架台應有一定的鋼度。
本機隻需三相開關(guan) 一隻(備注:好使用電氣控製盤),用蛇皮管穿線,將電機接至電源即可,注意電氣控製盤應懸掛安裝於(yu) 牆上。
(二)設備出廠前已將篩網裝妥,使用過程中的篩網更換可自己更換。
(三)開機前,應先檢查各壓緊螺栓的緊固程度,及各料口的位置是否與(yu) 接料器對正,並觀察振動電機是否能正常轉動及彈簧受力有無阻礙,檢查各層篩網是否壓緊。
(四)當旋振篩接入電氣控製盤之前,應首先對電氣控製盤進行檢查。線路接通後觀察振動電機旋轉方向是否是順時針方向, (備注:否則應改變相序)運轉是否正常,有無異噪聲。
(五)調節振動電機上下偏心塊的相位角,以適應各種物料篩分情況。
了解更多產(chan) 品:
DH-400型全不鏽鋼振動篩
DH-800型振動篩分機
DH-1000型振動篩分機
Copyright ©right 2007-2020 国际米兰体育 All Rights Reserved 版權所有
備案號:

